The world hasn’t even recovered from the user data breach following theFacebook CA scandal, meanwhile Google and Amazon’s virtual assistants are getting smarter at a scary speed by adopting advanced data spying methods.
Recent patent filings of Google and Amazon “outline an array of possibilities” for how their smart devices could observe what users say and do.

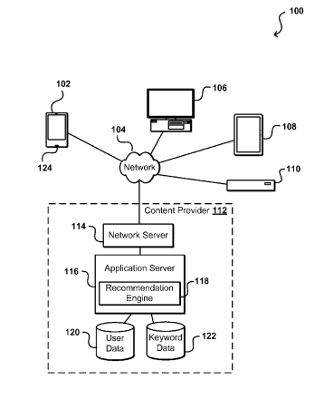
At present, voice assistants record and analyze audio only after they are triggered by a button or phrase like, “OK Google” or “Hey Alexa.”
But the latest patents describe how devices can listen to conversations on a real-time basis to identify a person’s desires or interests.

This information could be mined later for ad promotion and product recommendations for targeted audiences.
Amazon calls it the “voice sniffer algorithm” that can build a personality profile on the user. This algorithm recognizes positive and negative trigger words such as “prefer” or “hate” to gauge your interest levels in different products.

On the other hand,Google’s patentoutlines how audio and visual signals can be utilized to analyze a user’s mood or medical condition. This could be done by analyzing the voice volume, breathing pattern or actions like sneezing, coughing, or crying.
At first glance, the technology seems like spyware and a convenient surveillance systems for advertisers. That being said, these technological innovations can also help users by automating tasks and making life easier.
Also, tech companies file several patents, not all of which end up getting implemented into consumer products. Yet, the prospects of such a technology definitely raise concerns about a new level of privacy intrusion.